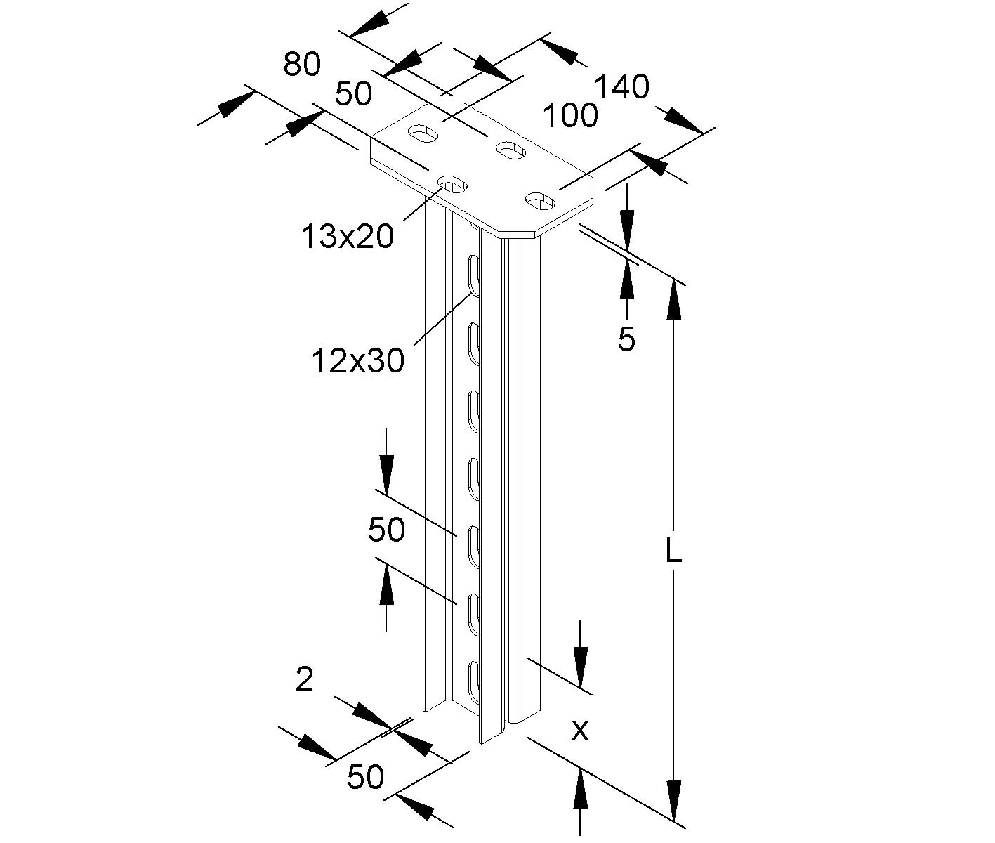
Hängestiel, doppel U-Profil mit angeschweißter Kopfplatte, System HDUF 50/..., für Ausleger zur ein- und beidseitigen Verlegung, beidseitige Anordnung der Ausleger nur höhenversetzt möglich. Aus statischen Gründen und um ein problemloses Aufsetzen der Schutzkappe zu ermöglichen, muss der Ausleger im Abstand von x=50 mm (Auslegerunterkante bis Hängestielende), oberhalb des Hängestielendes montiert werden. Zur Verwendung im Funktionserhalt bitte Zusatzvorschriften beachten! für Ausleger : KTUM... = 400 mm Länge KTU... = 600 mm Länge für Ausleger : KTUG... = 400 mm Länge (Funktionserhalt) für Ausleger : KTU... = 400 mm Länge in Verbindung mit Konsolenadapter KAWG 12 (Funktionserhalt) Abmessungen (ca. Maße) Kopfplatte L x B x t : 140 x 80 x 5 mm Befestigungslochung : 13 x 20 mm mittiger Abstand : 100 mm U-Profil (doppelt mit 6 mm Abstand) : 50 x 22 x 2 mm Profillochung, einreihig : 12 x 30 mm mittiger Abstand : 50 mm Gesamtlänge L : 801 mm Werkstoff : Stahl, tauchfeuerverzinkt nach DIN EN ISO 1461
Hersteller-Artikelnummer (MPN)
HDUF 50/800
Werkstoffgüte
sonstige
Profilbreite
49 mm
Ausführung
U-Profil doppelseitig
Einsatztemperatur
-20..120 °C
Länge
801 mm
Rostfreier Stahl, gebeizt
nein
Oberflächenschutz
feuerverzinkt
Geeignet für Funktionserhalt
ja
Tragfähigkeit
4 kN
Profilhöhe
50 mm
Gewicht
2,62086 kg
Werkstoff
Stahl
Hersteller: Niedax NIEDAX GmbH & Co. KG Asbacher Str. 141 DE 53545 Linz/Rhein info@niedax.de Webseite: www.niedax.de