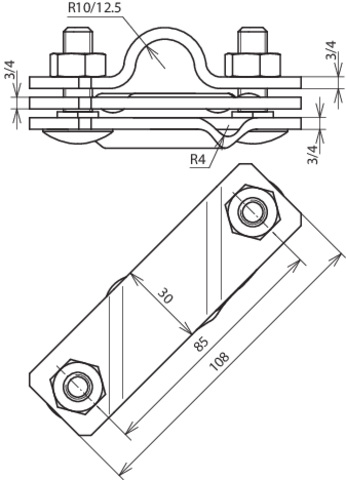
Anschlussschelle nach DIN EN 62561-1, zum Anschluss von Rundleitern, Seilen und Flachbändern an Tiefenerdern. Ausführung schräg mit Flachrundschraube, auch für ungeschnittene Erdleitungen.
Hersteller-Artikelnummer (MPN)
649015
Werkstoff
Edelstahl 316 (V4A)
Klemmbereich Seil
35..95 mm²
Klemmbereich Rundleiter
7..10 mm
Klemmbreite Flachleiter
bis 40 mm
Oberflächenschutz
unbehandelt
Durchmesser Erderanschluss
25 mm
Bauform
Anschlussschelle
Hersteller: DEHN DEHN SE Hans-Dehn-Str.1 DE 92318 Neumarkt i.d.OPf. info@dehn.de Webseite: www.dehn.de